简介:
固定式悬臂吊是近年发展起来的起重装备,具有结构独特,可靠,具备、节能、省时省力、灵活等特点,三维空间内随意操作,在短距、密集性调运的场合,比其它常规性吊运设备更显示其优越性。固定式悬臂吊由立柱,回转臂回转驱动装置及电动葫芦组成,立柱下端通过地脚螺栓固定在混凝土基础上,由摆线针轮减速装置来驱动旋臂回转,电动葫芦在旋臂工字钢上作左右直线运行,并起吊重物。
产品图片
固定式悬臂吊价格:
固定式悬臂吊由于其结构新颖、合理、简单、操作使用方便、回转灵活、作业空间大等优点被许多的现代化企业所使用,广泛应用于机械制造、汽车、造船等现代化工业的生产线、流水线、装配线及仓库、码头、实验室等场合的物料吊运作业中。是企业提高工效,改善劳动条件的理想起重设备。那么目前关于固定式悬臂吊的市场报价大概是多少呢?下面简单跟大家聊一下。
根据市场的大量调查我们得知,目前市场上关于固定式悬臂吊价格一般都在几千到几万不等的范围,它受产品设计、材料、功能,型号等等因素的影响,并没有一个具体的价格信息,如果大家想要了解更多关于固定式悬臂吊报价信息,新乡德工机械有限公司建议大家亲自与供应商进行沟通、咨询。
而新乡德工机械则是一家15年专业制造固定式悬臂吊的生产厂家,欢迎您的来电咨询!
固定式悬臂吊厂家:

新乡德工机械是一家15年专业制造厂家,我们以市场为导向,以品质为基础,以实惠的价格和良好的服务推进顾客成功为目标,所有产品均为厂家直销,可定制。价格透明,欢迎来电咨询:0373-5859666
德工机械,值得信赖的立柱式悬臂吊起重机生产厂家!
固定式悬臂吊的结构形式
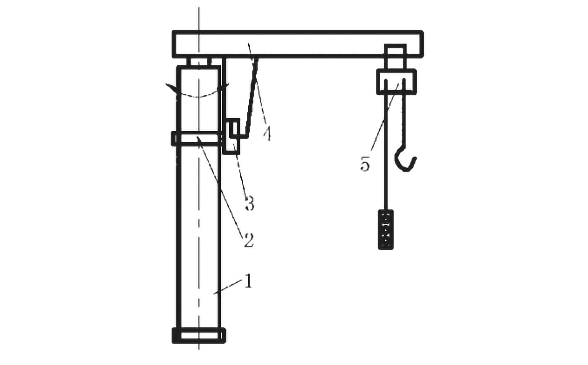
固定式悬臂吊机械结构主要由立柱、旋臂组成。工作时,立柱通过地基固定在地面上,承受旋臂和被吊重物产生的弯矩。旋臂依靠安装在立柱上部的旋转支承(调心轴承)和焊在立柱中上部的环形轨道及旋臂支架下部的滚轮支承。旋臂支架装有驱动装置和电动葫芦,驱动装置通电可以使旋臂围绕立柱旋转360°;电动葫芦可以完成重物的升降和水平运动。起重机的动作区域基本上为一圆柱体。其工作过程为:电动葫芦吊起重物,做上下方向运动,葫芦运行小车做左右方向运动,旋臂以立柱为做360°的旋转运动,将重物起吊移所需位置。

1.立柱 2.环形轨道 3.旋臂驱动装置 4.旋臂 5.电动葫芦
固定式悬臂吊性与可靠性
- 起升机构设有超载限制器;
- 起升机构设有上下限位开关;
- 小车运行机构采用机械及电位置限制器;
- 旋转机构采用机械及电位置限制器;
- 控制系统本体接地漏电保护。

固定式悬臂吊特点:
- 结构简单,操作方便,占用空间小,作业范围大;
- 厂房相同空间高度时,选用低净空高度有效高度大;
- 升降机构采用环链电动葫芦,双速控制;(建议配置)
- 小车运行标配单速或非标的双速控制 ;
- 回转方式:为手动/电动回转;
- 回转角度:回转角度可达360度(无限回转);
- 回转机构标配摆线针轮减速机;
- 小车导电采用扁电缆滑车导电,导电性能好,耐用故障少;
- 手电门控制电缆与电动葫芦导电电缆分别行走,现场使用适应性强;
- 电动葫芦与回转减速机控制均采用无线遥控配置;
- 采用旋钮式转换开关。
固定式悬臂吊工作示意图

